服务器厂商介绍
星芯云是一个基于云计算架构的数据中心,提供高效、灵活、可靠的计算和数据存储服务,以支持各种规模的企业需求。
星芯云利用高度虚拟化和自动化管理技术,实现了资源的快速调配和灵活应用。这种虚拟化包括服务器、存储、网络和应用等各个方面,用户可以按需调用各种资源。这种技术的应用大大提升了资源整合的速度和规模,使数据中心能够在短时间内实现海量资源的再分配,从而有效避免资源闲置的风险。

香港金牌CN2服务器测评
香港CN2服务器,金牌CPU,低延迟,免备案。
相关产品购买链接:https://www.xxiny.com/
服务器参数

线路介绍
全球ping



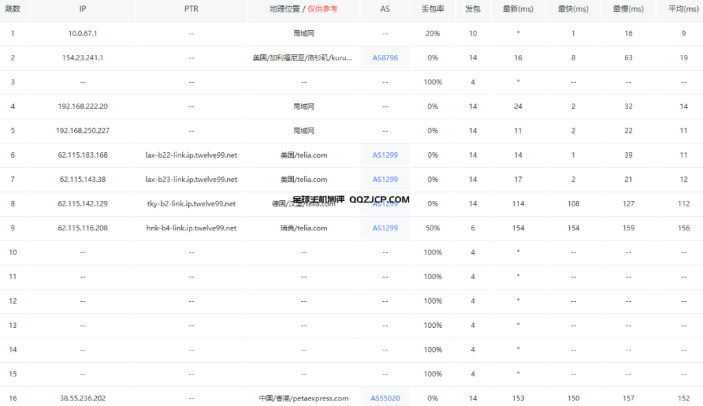
路由追踪
国内
上海电信

上海联通

上海移动

海外
美国洛杉矶

英国伦敦

跨国平台及流媒体解锁情况

原创文章,作者:VPS侦探,如若转载,请注明出处:https://www.zhujizhentan.com/a/63
