服务器厂商介绍
AkileCloud是一家专业的云计算服务提供商,主要业务包括全球大带宽服务器和流媒体解锁服务。
其全球大带宽服务器拥有强大的网络性能和高速的带宽,可以为用户提供极佳的上网体验和数据传输速度。同时,AkileCloud的流媒体解锁服务,可以帮助用户突破地域限制,畅享全球的流媒体内容。

日本东京大带宽BGP服务器测评
IIJ+GSL+PCCW+CDN77+JPNAP+EIE DNS解锁日本流媒体
缺点:非原生IP
相关产品购买链接:https://akile.io/shop/server?areaId=5
(如果没有看到的话就是卖完下架了)
服务器参数
CPU 1核 | 内存 512 M
硬盘 5 GB | 带宽 5000M
流量 300G/月 | 超出限速共享10Mbps
IPv4 1个 | IPv6 1个
¥9.9/月

线路介绍
全球ping



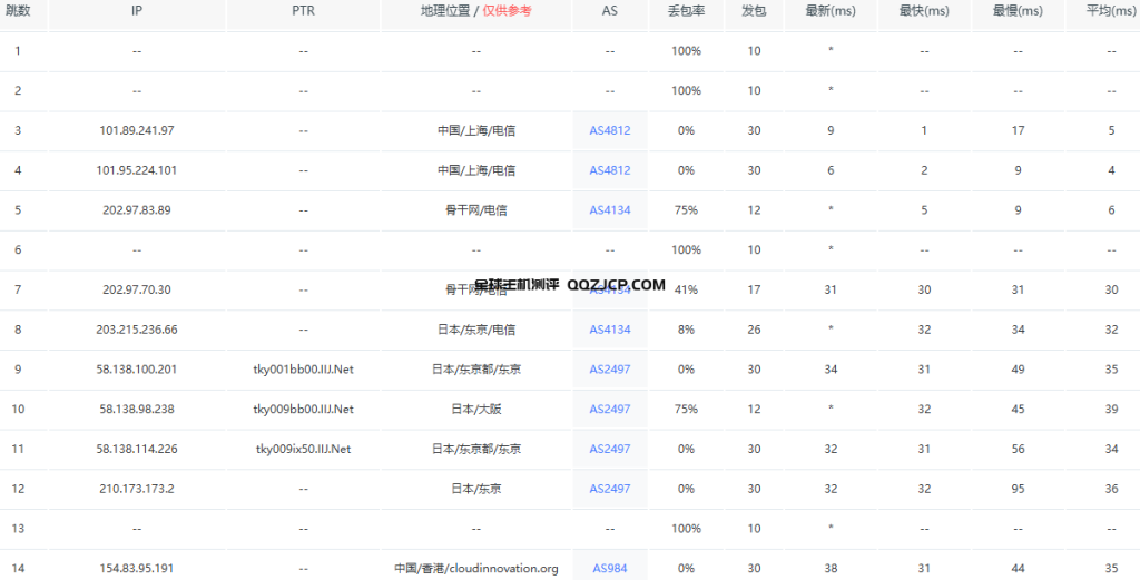
路由追踪
国内
上海电信

上海联通

上海移动

海外
美国洛杉矶

英国伦敦

跨国平台及流媒体解锁情况

原创文章,作者:XiaoWen,如若转载,请注明出处:https://www.zhujizhentan.com/a/182